Split Core Current Transformer SCT 333mV Secondary Output
The JIANGYIN SPARK this series of split core current transformer have UL2808 xoba certificate , designed for fast and easy installation.The split core design permits non-contact current measurements through magnetic field induction without requiring that the primary wire be taken offline and disconnected for CT installation.This method permits a safer,easy and portable current measurement. An internal precision burden resistor across the secondary winding of the CT provides a safe low voltage output and permits safe opening of the secondary. Compatible with SCHNEIDER ELECTRIC PowerLogic HDPM6000
Features
Low cost.
Split core design;safer,easier installation,portable.
Specifications
Rated Current 5A to 3000A loads.
Rated output: 0.333Vac
Accuracy:±1% from 5% to 120% of rated current
Phase Angle: less than 2 degrees at 50% of rated current
Voltage:0.72KV
Maximum Primary Voltage:5000Vac(Insulated Conductor)
Operating Temperature:-35℃to 65℃.
Frequency Range:50-400Hz
Leads:4Foot(105cm),UL 1015,Twisted Pair,20AWG
UL&CE LIST. RoHS Compliant,UL file number:E498920
Output and leads can be customized
Application:
Measures AC current flow to electric motors, lighting, air conditioning equipment, etc.Compatible with HVAC temperature control, power management,building automation systems.
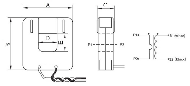
Dimension:mm

|
Model |
I.D. |
Rated Amps |
Output |
Accuracy |
SIZE(mm) |
||||
|
A |
B |
C |
D |
E |
|||||
|
XH-SCT-0750 |
0.75" (19.1mm) |
5 to 200A |
0.333V |
1.0 |
51.6 |
54.1 |
16.6 |
19.1 |
18 |
|
XH-SCT-1250 |
1.25" (31.8mm) |
50 to 600A |
1.0 |
82.3 |
85.3 |
26.4 |
32 |
32.3 |
|
|
XH-SCT-2000 |
2.00" (50.8mm) |
200 to 1200A |
1.0 |
120 |
125 |
29.6 |
52.5 |
52 |
|
|
XH-SCT-3000 |
3.00" x 5.00" (76.2 x127mm) |
500 to 3000A |
1.0 |
145 |
199 |
30.5 |
76 |
130 |
|
Performance Curve:

Contacts:
Mob:
E-mail:
Description: